Installing the Niko Rocker and Niko Toggle, with LEDs and comfort sensors
Components
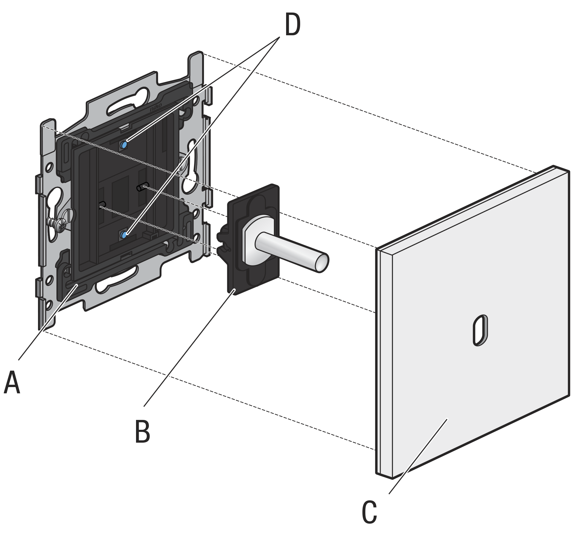
The following articles are required to install a Niko Rocker or Niko Toggle for Niko Home Control:
a base for a double or fourfold push button (A)
a Toggle or Rocker part or set (B)
a faceplate (C)

Be aware that each Toggle or Rocker part covers two push-button contacts on the base (D in the image above).
You can combine multiple bases, depending on the available faceplates.
The base is available with claw and screw fixing.
Installation when using the comfort sensors
Hardware requirements
To use the temperature sensor in a thermostat function, your Niko Home Control installation needs to be equipped with the necessary heating or cooling module and connected controller.
To use the humidity sensor in a ventilation function, your Niko Home Control installation needs to be equipped with the necessary ventilation module and connected controller.
Placement
This product may only be used as a thermostat in normal residential conditions.
To enable heating/cooling zone control, make sure the room temperature can be measured precisely by eliminating as many factors as possible that may inhibit the thermostat’s ability to perform accurate temperature control.
When used as a thermostat, DO NOT mount the push button:
in direct sunlight
on an exterior wall
behind a curtain
within the immediate vicinity of a heat-generating source (heater, radiator, etc.) or electrical equipment that may radiate heat (TV, computer, etc.)
The recommended installation height is 110-120 cm.
Do not allow air to circulate behind the control. If needed, use an airtight wall-mounting box or fill in any gaps in the flush-mounting box or bus cable duct using PU foam.
Make sure to give the temperature sensor sufficient time to acclimatize, getting to the right operational temperature to measure accurately.

Wiring
230 V – OFF
The terminal pair that is marked with “B” acts as the Niko Home Control bus wiring interface (non-polarized, free topology):

* Not connected to the product, but it is recommended as best practice to use this terminal pair to daisy chain the supplementary wire pair (e.g. to distribute 24 V across the installation for other functions).
Installation instructions
230 V – OFF
Step 1
You can detach the connectors to easily install the wiring:

Step 2
Use wires with the correct diameter and stripping length:

Install the wiring, according to the wiring diagram.

Step 3
The orientation is correct when the “UP” icon is pointing to the upper side.
Mount the base in a flush-mounting box with a depth of at least 40 mm.


Step 4
Click the Rocker or Toggle part(s) onto the base before you click the faceplate into place.
